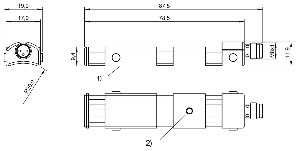
Особенности
- Надежный принцип работы датчика для высоких скоростей движения объекта
- Кольцевые индуктивные датчики, универсально монтируемые с помощью различных размеров
- Трубчатые индуктивные датчики могут быть легко установлены на подающей трубе
- Их можно использовать на расстоянии > 20 мм
